Friday February 2026

হটলাইন

সেবা এবং ধাপ

নং শিরোনাম সেবার ধাপ কার্যকলাপ
  
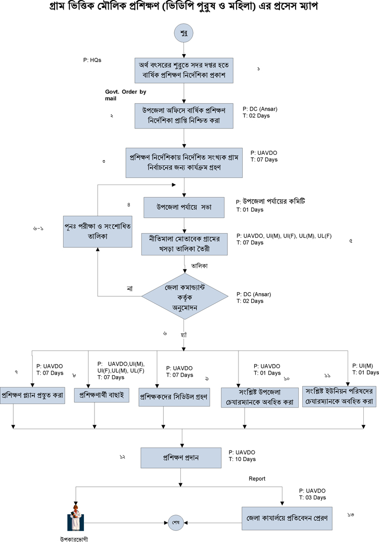
গ্রাম ভিত্তিক প্রশিক্ষণ দেখুন
জরুরি প্রয়োজনে অঙ্গীভূত করণ দেখুন
নিরাপত্তা সেবা দেখুন
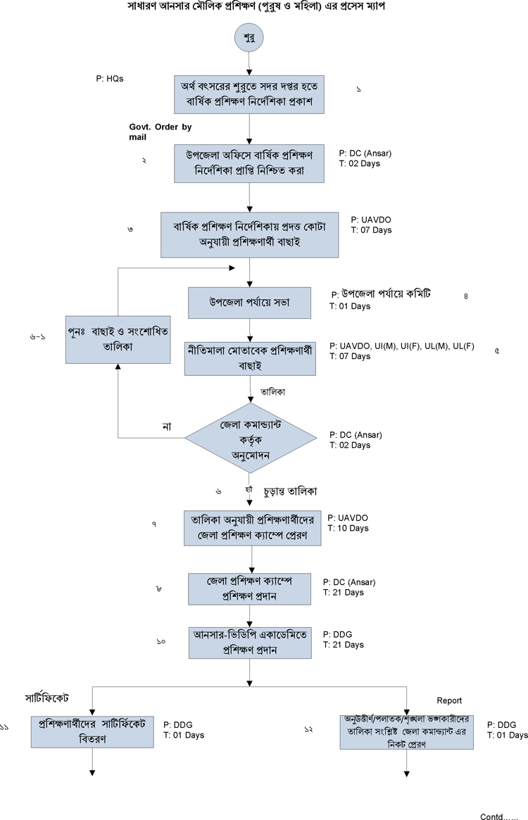
মৌলিক প্রশিক্ষণ দেখুন
ক্ষুদ্রঋণ প্রাপ্তি দেখুন
প্রশিক্ষণ দেখুন
সরকারী-বেসরকারী সংস্থায় আনসার অঙ্গীভূতকরণ এর পদ্ধতি দেখুন
দেখছেন ১ থেকে ৭ পর্যন্ত, মোট ৭ এন্ট্রি

এক্সেসিবিলিটি

স্ক্রিন রিডার ডাউনলোড করুন